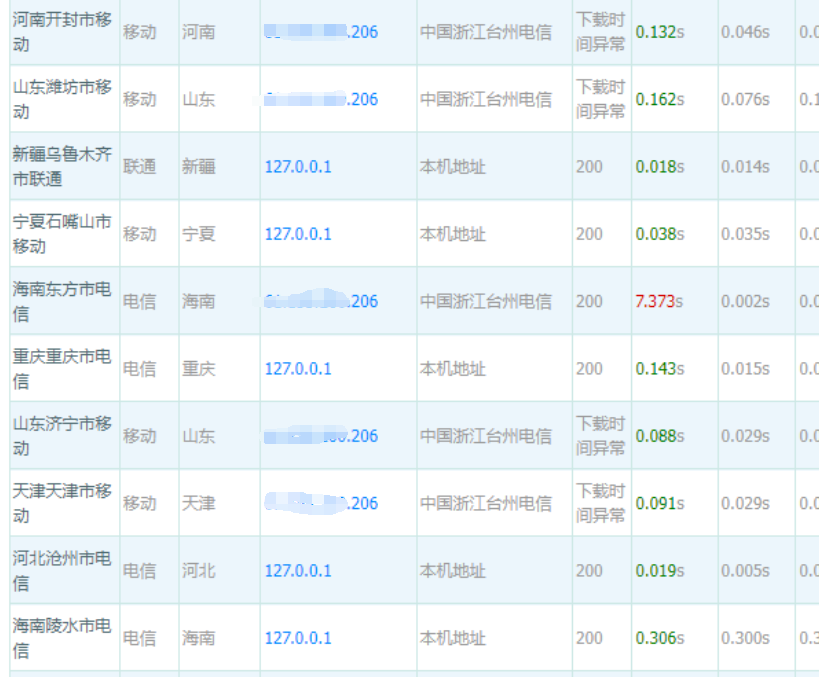
為什么我的域名在某些地方不能訪問,解析到127.0.0.1或者0.0.0.0?現象:有的地方可以訪問,有的地方不能訪問。不能訪問的地方ping域名解析到了127.0.0.1或者0.0.0.0。如圖:
原因: 大概率是因域名涉及違規應用,被對應運營商進行了阻斷。根據我司經驗,一般是涉詐、涉賭、涉黃等情況被阻斷。 查詢被阻斷原因: 可通過網站:https://www.110.cqqgsafe.com/ 查詢,支持域名或IP。 可通過微信小程序:凈網云劍查詢,支持域名或IP。 注意并不是所有阻斷的域名都能查到。 解決方案: 如通過小程序:凈網云劍能查詢到具體原因,可嘗試申訴。 如查不到具體阻斷情況,或無法申訴,建議更換域名。并自行審核網站,可能什么原因被阻斷,然后進行調整。 如果是自己本地無法訪問,只希望解決自己本地無法訪問的問題,可以通過修改hosts文件來解決,用記事本打開C:\Windows\System32\drivers\etc\hosts ,添加正確的IP和域名,然后保存,就可以正常訪問了。也可以嘗試修改自己本地的DNS,然后測試是否能正常訪問,參考教程:http://www.shinetop.cn/faq/list.asp?unid=489
|
|||||
| >> 相關文章 | |||||
關于我們
|
聯系我們
|
付款方式
|
人才招聘
|
友情鏈接
|
域名資訊
|
提交工單
|
我要評價
|
投訴建議
|
域名投訴
|
網站備案
|
百科知識
|
手機站
《中華人民共和國增值電信業務經營許可證》編號:B1-20172600 川B1-20080058 蜀ICP備12028237號
《中華人民共和國互聯網域名服務許可證》編號:川 D3-20220002
電話總機:028-6277****(20線) 抱歉,當前是午餐時間,請在13:00以后咨詢。若有網站打不開、網絡中斷等緊急問題請致電028-62778877-7。 400電話:400-028-**** 抱歉,當前是午餐時間,請在13:00以后咨詢。若有網站打不開、網絡中斷等緊急問題請致電028-62778877-7。
400-028-****
028-6277****
抱歉,當前是午餐時間,請在13:00以后咨詢。若有網站打不開、網絡中斷等緊急問題請致電028-62778877-7

