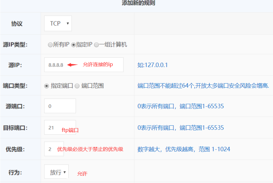
利用安全組設置只允許某個IP(IP段)連接ftp進入入口: 登陸管理中心,業務管理--安全及監測--安全組 點擊添加按鈕添加安全組。創建好以后點擊【規則】添加對應的信息。 首先設置一個拒絕所有IP連接ftp端口的規則(ftp默認端口21)。
然后再添加允許ftp端口的規則。
關于IP段設置說明: 源IP填寫為118.124.8.0/24 表示118.124.8.* 源IP填寫為118.124.0.0/16 表示118.124.*.* 添加成功以后,點擊“部署”按鈕,選擇要應用部署的服務器。示例中的端口和ip,更換為自己實際情況的ip和端口。
|
|||||
| >> 相關文章 | |||||
關于我們
|
聯系我們
|
付款方式
|
人才招聘
|
友情鏈接
|
域名資訊
|
提交工單
|
我要評價
|
投訴建議
|
域名投訴
|
網站備案
|
百科知識
|
手機站
《中華人民共和國增值電信業務經營許可證》編號:B1-20172600 川B1-20080058 蜀ICP備12028237號
《中華人民共和國互聯網域名服務許可證》編號:川 D3-20220002
電話總機:028-6277****(20線) 抱歉,當前是午餐時間,請在13:00以后咨詢。若有網站打不開、網絡中斷等緊急問題請致電028-62778877-7。 400電話:400-028-**** 抱歉,當前是午餐時間,請在13:00以后咨詢。若有網站打不開、網絡中斷等緊急問題請致電028-62778877-7。
400-028-****
028-6277****
抱歉,當前是午餐時間,請在13:00以后咨詢。若有網站打不開、網絡中斷等緊急問題請致電028-62778877-7




